xcamping
luftfederung
hallo
Links zu ebay oder Amazon sind Werbelinks. Wenn Sie auf der Zielseite etwas kaufen, bekommen wir vom betreffenden Anbieter Provision. Es entstehen für Sie keine Nachteile beim Kauf oder Preis.

Raidys Bastler- und Know-How Ecke 1, 2, 3, 4, 5 ... 13


Gast am 06 Dez 2011 14:34:10

Guten Tag liebe WoMo-FahrerInnen,

in diesem Thread zeige ich euch die eine oder andere einfache Modifikation fürs WoMo.

Heute: Einfache, aber hoch genaue Spannungsanzeige für Batterien.


Hierzu benötigt man nur diesen LiPo Akkuchecker für 3,59 € inkl. Versandkosten und einen Autostecker. Diese Teile habe ich schon über 100 Stück in anderen Projekten verbaut, sie funktionieren gut! Allerdings beträgt die Lieferzeit ca. 4 Wochen und ihr braucht paypal. In anderen Projekte anderer Foren (nicht WoMo) haben die Fories oft eine Sammelbestellung gemacht.

Der Aufbau ist ein Kinderspiel, wenn man löten kann.
Einfach den Minus des Stecker auf den ganz linken PIN der Anzeige löten und den Plus des Steckers auf den zweiten von links löten.

Die Anzeige zeigt mit 0,1V Schritten , die Grundgenauigkeit ist tatsächlich 0,05V +/- 1 Digit.
Der Vorteil dieser Schaltung: Man kann sie in jedem Kfz oder WoMo verwenden, der einen Zigarettenanzünder oder eine Autosteckdose hat.

Quelle des Voltmeters: Einfach in ibäi "LIPO 1S - 6S Led Checker Spannung Wächter Voltmeter NEU" eingeben"
Stecker gibt es in ibäi auch schon für 1,19€+2€ Versand.
Ich habe schon sehr oft über ibäi in China bestellt. Die Ware ist bis jetzt immer angekommen! Waren unter 20€ gehen Zollfrei durch zum Briefkasten.

@lieber Admin: Bitte in passende Kategorie verschieben, falls diese nicht passt.

Anzeige vom Forum

Hier findest Du vielleicht schon, was Du suchst: Artikel auf eBay oder versuchs hier bei Amazon

woslomo am 06 Dez 2011 14:57:08

Hallo,
sowas suche ich schon lange für 220V. Kennst Du da etwas?
Mit Vorwiederständen ließe sich das sicher auch mit Deiner Anzeige realisieren. Fertig wäre mir aber lieber.

Gast am 06 Dez 2011 15:05:54

woslomo hat geschrieben:Hallo,
sowas suche ich schon lange für 220V. Kennst Du da etwas?
Mit Vorwiederständen ließe sich das sicher auch mit Deiner Anzeige realisieren. Fertig wäre mir aber lieber.

220V = Finger weg. Ich zeige hier keine Anleitungen für 220V, das verbietet mit meine Ausbildung.

Aber für nur 15,80 Euro inkl. Versand kannst du das hier nehmen Link zum eBay Artikel

Gibts natürlich auch bein Conrad, Voelkner und vermutlich sogar im Blödia-Markt.

Anzeige vom Forum


Gast am 06 Dez 2011 15:12:49

Mal ne dumme Frage, wo holt denn der seine Spannung her, für die LEDs. Von der zu messenden Stromversorgung? Wird der - minimale -Spannungsabfall somit ignoriert?
Ich frage, weil ich mir mal ins alte Womo ne externe LED-Spannungsanzeige ins Panel einbauen wollte, diese wäre aber nur mit 9 Volt Blockbatterien zu betreiben gewesen.

Didier

Gast am 06 Dez 2011 15:21:03

agent_no6 hat geschrieben:Mal ne dumme Frage, wo holt denn der seine Spannung her, für die LEDs. Von der zu messenden Stromversorgung? Wird der - minimale -Spannungsabfall somit ignoriert?
Ich frage, weil ich mir mal ins alte Womo ne externe LED-Spannungsanzeige ins Panel einbauen wollte, diese wäre aber nur mit 9 Volt Blockbatterien zu betreiben gewesen.

Didier

Er holt sie aus der Messspannung. Da diese aber über "dicke" Leitungen am Autostecker ankommt, und das Teil nur 0,02-0,05A (20-50mA) verbraucht, kommt es zu einem Spannungsabfall von geschätzten 0,001-0,002V, also weit außerhalb der Messgenauigkeit der Anzeige. Sie kann übrigens ab 2,8V anzeigen und bis 5V sogar in 0,01v Schritten.

Gast am 06 Dez 2011 16:06:10

Schade, das man löten muß :(
Gibt es sowas auch zum kleinen Preis, ohne löten zu müssen ?

Gast am 06 Dez 2011 16:55:24

Freetec 598 hat geschrieben:Schade, das man löten muß :(
Gibt es sowas auch zum kleinen Preis, ohne löten zu müssen ?

Ja, hier -> Amazon Link

Gast am 06 Dez 2011 17:30:17

Kapitel 2: Kabelquerschnitte, die ewige Diskussion.

Über kaum etwas anders wird so wild spekuliert wie über den richtigen Kabelquerschnitt. Um hier mal etwas die Luft raus zunehmen, erkläre ich euch hier mal die Querschnitte nach DIN.
Tabelle aus Copyrightgründen nur als Link --> Link (Quelle: w w w.ac230v.de)
In dieser Tabelle seht ihr, welcher Strom welchen Querschnitt benötigt.
Die für euch relevanten Einträge sind die mit Cu = Kupferkabel.

Kleine Erklärung mit Beispiel:

10A in engem Schacht = 1mm² (unter 1,5mm² würde ich ohnehin nie beginnen!)
16A als Einzelkabel = 1mm² (wie oben, nehme 1,5mm²)
30A Kompressor = theoretisch 4mm², wegen der Kurzzeitlast reichen aber auch 2,5mm²
30A Spannungswandler (lose flexible Kabel) = theoretisch 4mm², ich würde mind. 6mm² nehmen (hier will ich jedes %)
15A PV-Zelle = theoretisch 1mm², ich empfehle mind. 4mm² (hier will ich jedes % im Akku!)

Wie ihr sehr, unterscheidet man, wie das Kabel verlegt oder geschaffen ist. Kabel in Kanälen darf nicht so viel Strom leiten wie Kabel in der freien Luft. Einzel verlegte Kabel dürfen mehr Strom leiten, wie aneinander liegende Kabel.

Wichtig: In einem Rüttel- und Schüttelobjekt wie einem WoMo dürfen nur flexible Litzekabel verwendet werden, niemals starres Kabel. Diese würde mit an Sicherheit grenzender Wahrscheinlichkeit an einem Kabelbruch sterben!

Was aber noch viel wichtiger ist, ist die Verwendung des Kabels. Bei nur kurzfristiger Verwendung (z.Bsp. Kompressor), darf es auch mal leicht unterdimensioniert sein. Bei Ladekabel für Photovoltaikanlagen aber sollte man immer überdimensionieren. Wird es ein langes Kabel (über 5m) würde ich einen Querschnitt größer nehmen.

Warum?
Bei einer PV-Anlage will man möglichst 100% der oben erzeugten Leistung in die Batterie bringen. Da schmerzen 5% Verlust schon gewaltig.
Bei einem Kompressor zum Reifen aufpumpen oder einer mobilen Lampe stören die 5% Verlust nicht.

12V Kabel, contra 220V Kabel?

Für die Querschnittsberechnung spielt die Betriebsspannung (fast gar) keine Rolle. Hier ist nur die Qulaität der Isolierung wichtig. Man kann jedes 220V Kabel auch für 12V nehmen, aber niemals umgekehrt. Leider habe ich schon viele 220V Verdrahtungen gesehen, die mit Lautsprecherkabel 0,75mm² getätigt wurden - würg.

Typische Aussagen:
"Ich würde bei den 10A eher 4mm² oder gar 6mm² nehmen".
Der einzige Effekt ist 1kg mehr Gewicht im WoMo und ersparte 0,01-0,05V Spannungsverlust. So what?

Fazit:
1) Diese Tabelle verschafft Klarheit.
2) Für echte Dauerverbraucher empfehle ich eher eine Stufe höher zu gehen.
3) Mobile Kurzzeitverbraucher dürfen auch knapp(!) darunter liegen.
4) Kupfer wiegt, weshalb man es nicht maßlos übertreiben sollte mit dem Querschnitt.
5) Bei langen Kabeln eher auch mal eine Stufe höher gehen.
6) Für fast alle normalen Arbeiten reicht ein 2,5mm² völlig. Es ist eigentlich die Standardgröße, solange man keine Hochlastverbraucher dran hat.

Ich hoffe, es ist dem einen oder anderen eine Hilfe

Raidy

Gast am 06 Dez 2011 17:41:38

Gast hat geschrieben:wie siehts aus mit meinem Voltronic Solarregler - der zeigt das ja auch an - ist der zuverlässiger , als das Paneel? Kann man das so allgemein beantworten?

Solarregler, welche einen Digitalanzeige haben, arbeiten mit Mikroprozessor (künftig sage ich nur noch MP dazu!). diese MP-Regler sind auch sehr genau.

Warum es auf 0,3V mehr oder weniger ankommt?
So labge du über 12V bist, macht es eigentlich nicht viel aus. Ich aber mags lieber genau.

Und ich finde eben die Mobilität des Teiles gut.

Gast am 06 Dez 2011 17:56:43

raidy hat geschrieben:
Gast hat geschrieben:
raidy hat geschrieben:
Und ich finde eben die Mobilität des Teiles gut.


Aha - gibs zu, Du bist ganz einfach genauso ein Spielkalb wie ich :)

Von Beruf Prototypenentwickler, privat Prototyper, im Schlaf Prototyper. :D
Warum nicht automatisieren, was sich automatisieren lässt. Mein 1250l Aquarium kann 6 Wochen ohne mich auskommen. Wasserhärte, Leitwert, ph, Temperatur, automatischer Wasserwechsel, Fütterung...... geht alles in Abwesenheit und: Ich kanns übers Web kontrollieren.


Witzig, ist bei mir auch so - sag ich ja : Spielkalb - an meinem Terrarium und meinem Aquarium siehts genauso aus - am Terrarium hängen drei kleine Compus, die alles überwachen.

Allerdings: Aquarium habe ich schon verkauft und Terrarium verkauf ich in diesen Tagen :(

Gast am 06 Dez 2011 18:04:58

Und jetzt sei mir noch eine dumme Frage gestattet.
Wenn ich so ein Gerät in die Zig.-Anzündersteckdose stecke,
von welcher Batterie bekomme ich den Wert?
Von der Aufbau - oder den FORD Batterien ?

Gast am 06 Dez 2011 18:14:57

Freetec 598 hat geschrieben:Und jetzt sei mir noch eine dumme Frage gestattet.
Wenn ich so ein Gerät in die Zig.-Anzündersteckdose stecke,
von welcher Batterie bekomme ich den Wert?
Von der Aufbau - oder den FORD Batterien ?

Die Fahrhausbatterie. Es sein denn du hast hinten auch 12V Buchsen.
Ich hab mir gleich ein paar eingebaut.

Gast am 06 Dez 2011 18:56:49

Kapitel 3: Strom, Spannung, Widerstand und Leistung für Dummies

Diesen Text habe ich mal für ein anders Forum gemacht. Da es aber "Produktneutral" ist stelle ich es mal hier auch rein.

Strom, Spannung, Widerstand und Leistung lassen sich auch ganz einfach für Neulinge erklären, indem man es mal mit Wasser vergleicht.

Stellen wir uns das ganze einfach als Wasser vor.

STROM:
Dann ist Strom die Menge Wasser, die fließt. Es gibt Flüsse, die fließen ganz langsam. Da sie aber sehr breit sind transportieren Sie viel Wasser.
So ist das beim Strom auch. Je mehr Strom fließt, desto dicker muss das Kabel sein, damit er auch durchkommt. Strom ist also eine Mengenangabe.
Es gibt nur an, wieviel Strom fliesst, mit Leistung hat das nichts zu tun. Man misst ihn in Ampere, auch A genannt.

SPANNUNG:
Spannung ist der Wasserdruck. Ihr kennt das sicher. Es gibt kleine Dorfbrunnen aus denen kaum Wasser rauskommt. Trotzdem kann man sie nicht zuhalten, weil der Wasserdruck sehr hoch ist. Bei der Spannung ist das genau gleich. Grosse Spannungen (Blitze) können große Wege überwinden, kleine Spannungen kommen nicht weit. Spannung ist somit eine Angabe des elektrischen "Druckes". Er wird in Volt, auch V angegeben.

WIDERSTAND:
Widerstand ist wie ein Wasserschlauch. Je dünner der Schlauch, desto mehr Wasserdruck braucht man, damit hinten noch was rauskommt. Dicke Schläuche=wenig Widerstand, dünne Schläuche=viel Widerstand. In der Elektrik ist das genau gleich: Dünne Kabel haben einen höheren Widerstand wie dicke Kabel. Der Widerstand wird in Ohm angegeben.

Was ist dann LEISTUNG:
Ein kleiner, aber sehr schnell fließender Bach hat die gleiche Leistung wie ein langsam aber breit fließender Bach. Aus beiden kommt die gleiche Leistung raus, wenn man ein Wasserkraftwerk einbauen würde.
Beim kleinen Bach wäre das ein kleines Wasserrad, das sich aber sehr schnell dreht. Beim großen Bach ein großen Wasserrad, das sich zwar langsam, dafür aber sehr kraftvoll dreht.
So ist es beim Strom auch!
100Volt Spannung und 1Ampere Strom ist die gleiche Leistung wie
50Volt Spannung und 2Ampere Strom.

Darum ist es auch Blödsinnn, wenn in der Werbung eine Akkusbohrmaschine wie folgt beworben wird:
"18V statt 12V Akku. Also mehr Leistung" Blödsinn!
Es kommt doch auch darauf an, wieviel Strom der liefern kann.


Warum wird ein Glühbirne mit 5Volt heisser , wie mit 3,6V.

Denken wir mal wieder an das Wasser:
Du hast einen dicken Gartenschlauch, weil du wenig Wasserdruck hast.
Wenn du plötzlich mehr Wasserdruck vom Wasserwerk bekommen würderst, dann käme auch viel mehr Wasser raus.
Du hast also eine Glühbirne, die für 3,6V ausgelegt ist.
Der Draht hat einen Widerstand von z.Bsp. 3,6 Ohm.
Dann würde jetzt genau 1 Ampere durchfliessen (so will es das Ohmsche Gesetz. Aber das tun wir uns hier noch nicht an).
Wenn du die Glühbirne jetzt an 5 Volt anschliessen tust, dann fliessen plötzlich mehr Ampere (1,38Amper sind es dann) durch.
Da Leistung Wassedruck * Wassermenge sind heisst das dann
Leistung = Volt * Ampere also 5 Volt * 1,38 Ampere = 6,94 Watt
Vorher waren es 3Volt * 1 Ampere= 3 Watt.
Also über die doppelte Leistung!!! Wundere Dich jetzt nicht, wenn der Draht, der für 3,6Volt gedacht war, auch schneller durchbrennt.

So das wars dann mal. Als nächstes kommt "Das Ohmsche Gesetz"
Und denke immer an den Gartenschlauch und den Wasserdruck!

Gast am 06 Dez 2011 19:37:57

So, nach einen Stück Kuchen von eaglesandhorses (Danke) geht weiter.


Kapitel 4: Das Ohmsche Gesetz für Dummies

Lese diesen Thread bitte nur, wenn du die Post „Spannung, Strom und Widerstand für Dummies“ weiter oben schon gelesen hast.

Kurzzusammenfassung des Posts "Spannung, Strom und Widerstand für Dummies“


1) Spannung in der Elektrik ist wie Wasserdruck beim Wasser; hohe Spannung = hoher Druck
2) Strom in der Elektrik ist wie die Wassermenge beim Wasser; viel Wasser = viel Strom
3) Widerstand ist wie der Schlauchdurchmesser, kleiner Durchmesser = viel Widerstand

Beispiele:

Wenn also aus einem dünnen Schlauch (großer Widerstand) viel Wasser rauskommt (viel Strom), dann muss der Wasserdruck (Spannung) sehr hoch sein!

Wenn aus einem dicken Schlauch (wenig Widerstand) trotzdem wenig Wasser rauskommt (wenig Strom), dann ist der Wasserdruck (Spannung) sehr, sehr niedrig.

Also gibt es da wohl einen Zusammenhang. Den kann man mathematisch ausdrücken:

Wasserdruck = Wassermenge * Schlauchwiderstand oder
Wassermenge = Wasserdruck / Schlauchwiderstand oder
Schlauchwiderstand = Wasserdruck / Wassermenge

Jetzt machen wir das mal mit der Elektrik

Spannung = Strom * Widerstand oder
Strom = Spannung / Widerstand oder
Widerstand = Spannung / Strom

Und jetzt ersetzen wir die deutschen Bezeichnungen durch internationale Abkürzungen
U für Spannung, I für Strom und R für Widerstand

Dann heißt das ohmsche Gesetz:
U = R * I oder
I = U / R oder
R = U / I

Beispiel 1

Eine Taschenlampenbirne hat einen Widerstand von 3 Ohm und wird mit 5Volt betrieben. Wie hoch ist der Strom, der durch die Taschenlampenbirne fließt?

Strom = Spannung / Widerstand
I = U / R
I = 5V / 3Ohm= 1,66 V/Ohm = 1,66 Ampere

Wenn du jetzt einen Akku mit 2000mAh (= 2Ah = 2 AmpereStunden=2 Stunden lang 1 Ampere, dann leer) hast, dann könnte dieser also
2 Ah /1,66 A = 1,2 h = 1,2 Stunden = 1 Stunde 12 Minuten lang die Taschenlampenbirne betreiben.

Natürlich kannst Du auch umgekehrt rechnen. Wenn Du weißt, wie lange dein Akku die Birne leuchten lässt und die Akkuspannung und die mAh-Leistung des Akkus kennst, kannst Du daraus den Widerstand der Birne ausrechnen.

Beispiel 2

Was passiert, wenn Du die Birne durch eine stärkere ersetzt.

Der Widerstand wird kleiner, die Akkuspannung bleibt gleich, also fließt mehr Strom. Die Birne leuchtet heller, aber der Akku ist schneller leer.

Beispiel 3
Du schließt eine Birne, der für 3,6V gedacht war an 5 Volt an. Was passiert?

I = U / R, da die Spannung höher ist, wird auch mehr Strom fließen. Die Birne leuchtet extrem hell und wird heißer, der Akku ist früher leer.


Wie Du siehst, alles gar nicht so schwer!

Übrigens: Ich habe viele Schreibfehler in diesem Thread versteckt. Wer sie findet, darf sie behalten.

Ich glaube, ich habe diesmal keine qA³ drin. :D

Gast am 06 Dez 2011 20:07:56

jennergruhle hat geschrieben:raidy, Du betreibst hier wertvolle elektrotechnische Aufklärungsarbeit, lass Dich von den paar Schreibfehlern bei den Q²u²a²d²r²a²t²m²i²l²l²i²m²e²t²e²r²n² nicht fertigmachen! :D

Danke, das aus deinem Munde. Dann brauch ich ja doch nicht die 7qm² runter springen. :D

Kapitel 5: Die elektrische Leistung für Dummies

Tipp: Macht nur Sinn, wenn ihr die vorigen Kapitel gelesen habt.

Was ist überhaupt Leistung?
Für Menschliche Leistung gilt: Leistung = Energie/ Zeit

Beispiel:

Du holst einen Eimer Wasser aus dem Keller.
Dein Bruder holt einen Eimer Wasser aus dem Keller.

Beide haben die gleiche Energie(Arbeit) vollbracht. Aber auch die gleiche Leistung?

Du hast 10 Minuten dafür gebraucht.
Dein Bruder hat 5 Minuten dafür gebraucht.

Betrachtet man die Arbeit(Energie) pro Minute, dann hat Dein Bruder die doppelte Arbeit(Energie) geleistet.
Oder anders gesagt: Er hätte in Deinen 10 Minuten die doppelte Energie(Arbeit) geleistet.

Und jetzt zum Strom:

Leistung = Spannung * Strom (viel einfacher wie das Ohmsche Gesetz)
P = U * I

Beipiel:
Glühbirne 12V 1A
Leistung(P) = 12V * 1A = 12VA = 12Watt
Glühbirne 6V 2A
P= U * I
6V * 2A = 12AH = 12 Watt

Beide Glühbirnen haben die gleiche Leistung, brennen also gleich hell.

Beispiel:
Werbeaussage: „Akkubohrer mit 18V Akku. Mehr Leistung wie mit 12V Akku“. Stimmt das?
Nein, das ist eine glatte Lüge!
Wir kennen zwar die Spannung des Akkubohrers. Da wir aber den Widerstand des Motors nicht kennen, wissen wir auch nicht, wie viel Strom durch den Motor fließt. Also kennen wir die Leistung nicht.
Angenommen, die 12V Bohrmaschine verbraucht 12A. (Man sagt umgangssprachlich immer "verbraucht". Ist eigentlich falsch. Müsste heißen "durch XY fließen")
Dann ist die Leistung 12V * 10A = 120VA = 120W.
Angenommen die 18V Bohrmaschine verbraucht 5A.
Dann ist die Leistung 18V * 5A = 90W.
Die 12V Bohrmaschine wäre also mit Abstand die Leistungsfähigere!

Was lernen wir daraus:
Ein Gerät ist nicht besser, nur weil mehr Akkus drin sind.
Gerade bei Taschenlampen wirbt man gerne mit "4 Akkus, daher extrem hell". So ein Quatsch! Ich kann euch eine Taschenlampe mit einem Akku bauen, der brennt dir die Augen raus!


So, das wars mit Theorie. Als nächstes gehen wir jetzt direkt zur WoMo-Technik. Dann rechnen wir mal aus, wie lange die Batterie halten wird, warum sich LED-Umrüstung ganz dolle lohnt und warum man gerade beim SAT-Fernsehen genau auf den Strom achten sollte.

allfy am 06 Dez 2011 20:13:11

Hallo Raidy

toll das Du uns die Elektrik/Elektronik näher bringen willst.
Ich sauge alles auf. Denn nur so verständlich erklärt, wird bei vielen von uns doch einiges hängenbleiben.

Mich würde brennend interessieren, ob man günstig die zur Verfügung stehende Batteriekapazität abrufen kann. Also ein Amperemeter. Denn diese Anzeige wäre mir die Wichtigste. Ich kenne dann den Status meiner Akkus im Aufbau u. kann eine Tiefentladung besser vermeiden.
Diese Amperemeter sind teilweise verbaut, leider in meinem aktuellen LMC nicht.
Die angebotenen Systeme sind recht teuer, vielleicht mit Deiner Hilfe doch auch günstiger machbar.
Nur mal so als Anregung

Allfy

Gast am 06 Dez 2011 20:18:37

allfy hat geschrieben:Hallo Raidy
Mich würde brennend interessieren, ob man günstig die zur Verfügung stehende Batteriekapazität abrufen kann. Also ein Amperemeter. Denn diese Anzeige wäre mir die Wichtigste. Ich kenne dann den Status meiner Akkus im Aufbau u. kann eine Tiefentladung besser vermeiden.

Was du meinst ist ein Ah-Meter. Also nicht wie viel Ampere gerade fließen, sondern wie viele Amperstunden du schon verbraten hast. Noch besser wäre ein Wattstundenmeter, auch Verbrauchsmesser genannt. Kommt später!

Gast am 06 Dez 2011 21:00:28

Ich denke, dass die Fragen der Benutzer und die Antworten auch wieder lehrreich sein können.
Und letztlich bin ich auch ganz froh, wenn ich auf Grund kommender Posts sehe, dass das auch mit gelesen wird und ich mir die Mühe nicht umsonst mache. Also gar kein Feedback wäre furchtbar.
Wer nur meine Beiträge lesen will, kann dann entweder durchblättern oder gezielt nach dem Suchwort Kapitel und Raidy suchen.

Gast am 06 Dez 2011 21:56:53

So für heute ist dann mal genug. Das muss ja auch 2 mal gelesen und verstanden werden. Deshalb ein einfaches Nur Lese Kapitel:

Kapitel 6: Sind 12V gefährlich?

Pauschal gesagt: 12V können sehr gefährlich sein!

Und jetzt genauer:

Theoretische Gefahren:
Das kurzzeitige Berühren von 12V ist ungefährlich. Es fließt nur ein winziger Strom durch den Körper. Man spürt ihn nicht, es tut nicht weh, er schädigt kein Organ. Man kann also ruhig mal für ein paar Sekunden die Pole der Batterie anfassen.

Aber:
Dauerhaftes berühren einer 12V Spannungsquelle kann gefährlich werden. Es fließt zwar nur ein winziger Strom durch den Körper, aber auch dieser winzige Strom führt zu einer Elektrolyse der Körperflüssigkeiten. Vereinfacht gesagt, Wasser, Blut und andere Mineralien werden zersetzt. Es bilden sich Wasserstoff- , Sauerstoff- und andere Gase. Salz wird in Natrium und Chlor umgewandelt.
Dauerhaft gesehen kann dies zu einer Vergiftung führen.

Deshalb: Unnötige Berührungen mit 12V trotzdem vermeiden!

Reale Gefahren:

Zwar ist die Spannung unkritisch, nicht aber die laufenden Ströme. diese können im Fall eines totalen Kurzschlusses einer guten Batterie Ruck Zuck auch mal 500-1000A sein. Solch extremen Ströme verschmelzen innerhalb weniger Sekunden ganz Schraubenschlüssel. Extremer Funkenflug kann schwerste Verbrennungen verursachen. Aufglühende Kabel können ein WoMo sofort in Brand setzen. Und, ganz tragisch: Im Extremfall kann die gesamte Batterie explodieren.

Deshalb: Das hantieren direkt an Batterien ohne Sicherung dazwischen kann schlimmste Folgen haben. Fummle niemals einfach so an einer Batterie herum. Das Mindestmaß an Sicherheit muss eine Brille und eine gute Arbeitsjacke sein. Man spielt nicht nur mit einem T-Shirt bekleidet an einer Batterie herum, Basta!

Ab der ersten Sicherung wirds harmloser. Brutale Kurzschlüsse lösen sofort die Sicherung heraus. Ist der Sicherungswert aber >10A, so können auch "bedingte Kurzschlüsse" (wo weniger Strom läuft) immer noch zu Kabelbränden führen.

Die Rumschrauberei in einem WoMo sollte nur durch erfahrene Personen stattfinden.
Rechtlicher Hinweis:
In allen folgenden Kapiteln unterstelle ich, dass ihr nur mit der notwendigen Sicherheit und qualitativ sauber arbeitet. Ich lehne jegliche Haftung, die durch Anwendung meiner Vorschläge und Schaltungen passieren können strikt ab. Alle Schaltungen, Anweisungen und Vorschläge sind nur exemplarisch zu verstehen. Jeglicher Nachbau, jegliche Anwendung geschieht immer und ausnahmslos auf eigene Gefahr und Verantwortung.



Fazit:

1) 12V anzufassen ist kurzzeitig (ein paar Sekunden) ungefährlich, sollte trotzdem vermieden werden. Langfristiges Berühren kann gefährlich sein
2) Kurzschlüsse können tragische Folgen haben (Verbrennungen, Feuer, Explosion)
3) Wir arbeiten immer nur Spannungsfrei, indem wir die Sicherung erst ganz am Schluss einlegen.
4) Wir schließen nichts, aber auch gar nichts ohne Sicherung an.
5) Wenn wir uns nicht ganz sicher sind, fragen wir immer vorher einen Fachmann.
6) Wir arbeiten sauber oder gar nicht.
7) All dein tun geschieht immer und ausnahmslos auf dein eigenes Risiko.

Gast am 07 Dez 2011 09:37:16

Kapitel 7: Plus, Minus und dein Akku

Hallo, Hallo

Ich bin der Plus. Ich bin ein kräftiger Kerl, der gerne auf Wanderschaft geht. O.k., ich alleine habe nicht sehr viel Kraft, aber meisten gehe ich mit Milliarden anderen Plus auf Wanderschaft. Das nennt man dann Stromfluss.


Wir Plus sind nämlich gar nicht gerne alleine. Am liebsten sind wir mit dem Minus zusammen.

Ich sitze in deinem voll geladenen Akku mit ganz vielen anderen Plus zusammen und wir fühlen uns einsam. Wir würden alle so gerne den Minus umarmen, aber so eine blöde MEMBRAN(beim Bleiakku ist es die Flüssigkeit, das Gel...) im Akku lässt uns da nicht durch. Und so drängeln wir uns hier furchtbar uns stehen voll unter SPANNUNG.

Sobald wir aber einen Weg zum Minus finden, laufen wir alle los. Je breiter dieser Weg ist, desto größer wird der STROM an Plusteilchen, die den Weg zum Minus suchen.

Haben wir dann mal den Minus gefunden, vereinigen wir uns mit ihm. Die Spannung fällt ab und wir leben in Harmonie zusammen.
[/img]
Leider ist der Weg vom Plus zum Minus manchmal ganz schön schwierig und wir stoßen auf viel WIDERSTAND. Dann reiben wir Plus'ies und alle ganz arg an dem engen Weg der uns so viel WIDERSTAND bereitet und werden dabei ganz schön heiß.

Und so ist das auch bei deinem Akku. Irgendwann waren wir Plus und Minus mal so richtig schön miteinander vereint. Und was machst Du? Du steckst den Akku in ein Ladegerät. Dieses hat uns Plus'ies durch die Membran (grüner Strich) nach oben gerissen und die Minus alle nach unten.
Jetzt ist es total eng hier, wir drängeln uns furchtbar und stehen voll unter Spannung. Durch die blöde Membran kommen wir ja nicht mehr zurück.
Wir wollen unbedingt wieder zu unseren Minus. "Freiheit für die Elektronen!"
Wenn du jetzt eine Glühbirne an Plus und Minus hälst, dann haben wir einen Weg, den wir gehen können. Zuerst gehen wir aus dem Akku raus und durch das Kabel. Man, da hat es Platz, da könnte so ein richtig großer Strom laufen. Aber leider ist der Weg durch die Glühbirne viel, viel enger und schwerer. Dieser blöde Draht leistet uns so richtig viel Widerstand. Also pressen wir uns dort gewaltsam durch. Das verursacht viel Reibung und der Faden in der Glühbirne wird immer heißer und heißer. Und weil nicht alle Plus'ies gleichzeitig durchkommen, fließt auch weniger Strom.
Aber irgendwann haben es wir dann auch geschafft, gehen in den Minus des Akkus und suchen uns den schönsten Minus aus. Den nehmen wir dann in den Arm und die ganze Spannung fällt von uns ab. Da aber noch viele, viele andere Plus drängeln ist immer noch genug Spannung da. Irgendwann haben es dann alle Plus geschafft zu ihrem Minus zu kommen. So, jetzt sind wir glücklich und vereint und es herrscht keine Spannung mehr.
Und was machst Du? Du steckst uns wieder in Ladegerät und fluchst: "Was, ist der Akku schon wieder leer". Manchmal bist du echt gemein!
Was haben wir gelernt?
1) Der Strom fließt immer vom Plus zum Minus.
2) die Menge der fließenden Teile nennt man STROM. Strom misst man in A (Ampere).
3) Der Druck zwischen Plus und Minus nennt man SPANNUNG. Spannung misst man in V (Volt).
4) Auf dem Weg dorthin geht es durch WIDERSTÄNDE und dies verursacht Wärme. Widerstand ( R ) misst man in Ohm.
5) Am Anfang ist die SPANNUNG noch recht hoch (je nach Akku). Aber je mehr Plus beim Minus angekommen sind, desto geringer wird die Spannung. Irgendwann wäre sie 0V.
6) Da dein Akku aber unter ~11,8V kaputt geht, lässt man ihn nie ganz leerlaufen und lädt ihn bei rund 12 Volt wieder auf. Das ist auch der Grund, warum du von einer 100Ah Batterie nur ca. 50Ah entnehmen sollst
7) Damit der STROM von Plus nach Minus fließen kann, muss ein LEITENDER WEG vorhanden sein.
8 ) Kupfer, Gold, Silber leiten sehr gut.
9) Glühfäden und Heizdrähte leiten nicht so gut und verursachen einen relativ hohen WIDERSTAND.

So, hier ist glaube ich meine Bilder-Upload Grenze von 10MB erreicht. Jetzt muss ich erst mal überlegen, wie ich weiter machen könnte

Gast am 07 Dez 2011 10:20:25

Kapitel 8: Kurzschluss und warum explodiert ein Akku?

So jetzt wissen wir ja alle, dass der Strom von Plus nach Minus fließt.
Je kleiner der Widerstand auf diesem Weg ist, desto mehr Strom kann fließen.

Sehr geringen Widerstand (oder sehr gute Leitfähigkeit) haben:
Gold, Silber, Kupfer
Geringen Widerstand (oder gute Leitfähigkeit) haben:
Aluminium, Edelstahl, Zink,
Mittleren Widerstand haben:
Glühbirnen (Wolfram), Kanthaldrähte
Großen Widerstand haben:
Hände, feuchtes Holz, Leitungswasser
Sehr großen Widerstand (sehr, sehr schlechte Leitfähigkeit) haben:
Trockenes Holz, Glas, Kunststoffe, Steine...
Wenn der Widerstand sehr, sehr groß ist spricht man auch gerne von Isolatoren, weil sie fast gar keinen Strom mehr durchlassen.

So, was ist jetzt ein Kurzschluss?
Eigentlich nichts anderes wie ein sehr, sehr geringer Widerstand zwischen + und -.
Wenn du zum Beispiel dem Plus und den Minus mit einem Kabel direkt verbindest (oder einer Schere, oder mit Alupapier), ist der Widerstand fast 0 Ohm.
Was passiert bei einem Kurzschluss?
Bei einem Kurzschluss kann sehr viel Strom (viele, viele Plusteile) von Plus nach Minus laufen. Nichts hindert den Stromfluss. Der Strom ist dermaßen hoch, dass der Akku durch den hohen Stromfluss erhitzt und dabei defekt wird. Der Akku hat übrigens auch einen eigenen Widerstand, der recht gering ist. Wenn nun extrem viel Strom von Plus nach Minus kann, dann erhitzt sich innen der Akku durch seinen eigenen Widerstand und wird immer heißer. Irgendwann wird er so heiß, dass die Gase im Akku anfangen zu kochen. Es bildet sich ein hoher Druck (wie in einem Dampfkochtopf) und der Akku zerreißt. Da kann es laut und gefährlich zugehen.
Je größer ein Akku ist, desto gefährlicher ist ein Kurzschluss! Eine explodierende Autobatterie kann tödlich sein!

Warum können Akkus beim Laden explodieren?
Schauen wir uns nochmals das Bild von Kapitel 7 an.

Oben sind sehr viele Plusteile, unten sehr viele Minusteile.
Bei deiner Bleibatterie sind das zwei Bleiplatten. auf der einen drängen sich die Plusies, auf der anderen die Minusies

Die "Membran" in der Mitte verhindert, dass die Plusteile direkt nach unten können.

Was hier als Membran abgebildet ist, ist bei einem Bleiakku eine säurehaltige Flüssigkeit.
Diese kann einfach nur so als Säure drin rumschwimmen, dann ist es eine Beli-Säure Batterie.
Diese kann durch ein "Geliermittel" so zähflüssig sein, dass sie nicht mehr durch ein Loch in der Batterie auslaufen könnte. Dann ist es eine Blei-Gel-Batterie.
Diese kann aber auch in einer Art Glasfasermatte gebunden sein, dann ist es eine AGM Batterie (Absorbent Glass Mat).

Angenommen, du verbindest jetzt den Plus und den Minus mit einem sehr dicken Draht. Dann besteht zwischen Plus und Minus kein WIDERSTAND mehr. Die Plusies können ungebremst zum Minus rasen.
Das tun sie zu Milliarden gleichzeitig. Es fließt ein unglaublich hoher Strom.
Dieser Massenansturm erzeugt im Kabel eine enorme Reibung. Das Kabel glüht auf. Aber auch im Akku läuft ein riesiger Strom. Jetzt "kocht" der Akku. Und wenn der den Druck der Hitze nicht los wird macht es rums.

Was haben wir gelernt?

1) Ein Kurzschluss ist eigentlich nicht anders wie ein schier unbegrenzter Stromfluss, weil kein Widerstand den Stromfluss begrenzt.
2) Bei einem Kurzschluss laufen sehr hohe Ströme (viele Ampere)
3) Der Akku enladet sich bei einem Kurzschluss sehr schnell (Die Spannung fällt schnell ab, es laufen hohe Ströme)
4) Hohe Ströme=schnelle Überhitzung=Brandgefahr

So, jetzt seid ihr schon "a bissl g'scheiter".

knutschkugel am 07 Dez 2011 11:14:09

Super Raidy macht spaß zu lesen.

Mach weiter...... :razz:

Gast am 07 Dez 2011 11:30:48

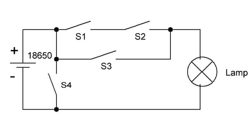
Kapitel 9: Klassenarbeit

Ihr könnt mir viel erzählen. :-) Schauen wir doch mal, ob ihr es auch verstanden habt.

Nochmals die Grundregel:
Der Strom will immer vom Plus zum Minus. Er kann nur fließen, wenn er eine Verbindung vom Plus zum Minus findet.

Und hier die Aufgabe:


Was seht ihr?
Ihr seht ein Schaltbild. Links ist die Batterie. Rechts ist eine Glühbirne. Die Striche sind gut leitender Draht. S1 - S4 sind Schalter. Im Bild sind alle Schalter AUF=Open=O.

Und nun der Test:

1) Welche Schalter muss man einschalten, damit die Lampe leuchtet?
2) Gibt es mehrere Möglichkeiten, damit die Lampe leuchtet?
3) Welchen Schalter darf man niemals einschalten und warum?

So, jetzt seid ihr mal dran
Aber nicht die Lösung bei den anderen abspickeln, gelle :D
In Ruhe überlegen und den anderen noch nicht verraten!

Mädels haben den Vortritt!

eaglesandhorses am 07 Dez 2011 11:45:25

eia S1 zusammen mit S2, muß ich aber zweimal drücken

schorsche51 am 07 Dez 2011 12:11:09

Hallo Raidy
Alles Super beschrieben, Gut gemacht.
Noch mal kurz Batterie Laden..Ich hab vor Jahren eine Batterie über Nacht geladen am anderen Morgen hin, das Ladegerät natürlich nicht abgestellt, die Ladekabel ab, dadurch ein Kurzer Funke und die ganze Batterie durch die entstandenen Gase Explodiert. Ich hatte noch Glück, nur meine Klamotten durch die Säure zerfressen und Einschüsse in Bein, Arm,Stirn ,Gott sei dank nicht in die Augen, von herum Fliegenden Teilen der Batterie.
Die Batterie hätte unter einer Absauganlage stehen müssen wegen den Gasen und natürlich Ladegerät aus, vor Abklemmen der Pole.

Schorsche

Gast am 07 Dez 2011 12:17:18

schorsche51 hat geschrieben:Hallo Raidy
Alles Super beschrieben, Gut gemacht.
Noch mal kurz Batterie Laden..Ich hab vor Jahren eine Batterie über Nacht geladen am anderen Morgen hin, das Ladegerät natürlich nicht abgestellt, die Ladekabel ab, dadurch ein Kurzer Funke und die ganze Batterie durch die entstandenen Gase Explodiert. Ich hatte noch Glück, nur meine Klamotten durch die Säure zerfressen und Einschüsse in Bein, Arm,Stirn ,Gott sei dank nicht in die Augen, von herum Fliegenden Teilen der Batterie.
Die Batterie hätte unter einer Absauganlage stehen müssen wegen den Gasen und natürlich Ladegerät aus, vor Abklemmen der Pole.

Schorsche


Da hast du wahrlich Glück gehabt, denn:

1) Bei normaler Aufladung einer Batterie hält sich die Gasung sehr in Grenzen und ist fast 0. Ganz offensichtlich hattest du die Batterie schon völlig überladen. Dann fängt sie an kräftig zu Gasen. Ich habe schon mal eine Werkstatt gesehen, in der der Chef auf Schnellladen 40A war und es vergessen hatte. Die Batterie hat es zerrissen. Die ganze Werkstatt war voll mit Säureflecken. Der Schaden war gewaltig. Welch ein Glück, dass niemand in der Werkstatt war.
2) IMMER zuerst lüften, dann Ladegerät ausschalten, dann Kabel wegnehmen!

Schwefelsäureflecken auf der Haut heilen ekelig und langsam. :eek:

Gast am 07 Dez 2011 12:24:08

Klassenarbeit 2

[/img]

Was passiert:

1) Wenn der Schalter offen ist
2) Wenn der Schalter zu ist.

Die Theorie dazu kommt erst später. Macht also nichts, wenn ihr es nicht lösen könnt.

Gast am 07 Dez 2011 13:52:05

artischocce hat geschrieben:Schalter offen: Lampe 1+2 leuchten
Schalter zu: nur Lampe 1 leuchtet (aber heller als beide zusammen)
:wink:

Volltreffer!

Und hier die Erklärung:

Angenommen jede Lampe hat einen Widerstand von 12Ohm.

1) Schalter OFFEN
Wenn der Schalter S1 offen ist dann muss der Strom durch die ersten 12Ohm der Lampe 2 und dann noch durch die zweiten 12Ohm der Lampe 1.
Zusammen muss der Strom sich dann durch 24Ohm "pressen".

Wie viel Strom läuft?

Strom = Spannung : Widerstand
I = U : R
I = 12V : 24Ohm = 0,5VoltOhm = 0,5A

wie hoch ist die Leistung beider Lampen zusammen?
Leistung = Spannung* Strom
P=12V *0,5A = 6VA =6W (Watt ist nichts anders wie VA)

Eine Lampe hat also nur 3W


2) Schalter ZU

Die Lampe 2 bekommt gar keine Spannung mehr ab, weil der Schalter ZU den ganzen Strom ungehindert durchlaufen lässt.
Die Lampe 1 bekommt die vollen 12V ab.

Sie hat 12Ohm. es sind 12V. Also laufen I= U / R
I=12V/12Ohm = 1A

Leistung P= U * I
P=12V*1A=12W

Die eine Lampe jetzt brennt also 4 mal so stark wie eine EINZELNE Lampe im obigen Beispiel und immer noch DOPPELT so stark, wie beide oben ZUSAMMEN!!!

Man könnte auch sagen: Doppelte Spannung ist 4fache Leistung.

Dies wiederum erklärt auch, warum ein 12V Föhn/Kaffeemaschine oder anderer "Stromfresser" mit voller Batterie deutlich mehr Leistung bringen wie nur noch mit 12V.
Dabei ist der Unterschied zu Voll=13,7V und Benutzerleer=12V doch eigentlich nur rund 13% Unterschied? :eek:

So, das reicht dann mal für Heute. Bitte alles nochmals "reinziehen", dann versteht ihr die nächsten Kapitel auch besser.

Danke
Raidy

Gast am 07 Dez 2011 14:09:43

a.miertsch hat geschrieben:"Irgendwann wird er so heiß, dass die Gase im Akku anfangen zu kochen."
Wie bitte, ist denn das zu verstehen? Gehen die dann in den 4. Aggregatzustand über? Aber interessant ist Deine Lehrstunde schon. Soll wohl mal ein Lehrbuch für alle zukünftigen E- Autofahrer werden?
Albert

Lieber Albert, du hast natürlich Recht.
Ich weiß, dass einige Formulierungen hier nicht wissenschaftlich exakt sind. Aber es ist für Dummies gedacht. Da ist es eben manchmal einfacher sich simpel auszudrücken, satt wissenschaftlich korrekt.

Ich mach es nochmal ganz korrekt:
Irgendwann ist durch die permanent zugeführte Wärmemenge die Temperatur im Akkumulators (Batterie wäre ja falsch) so hoch, dass die Flüssigkeit beginnt zu Verdampfen. Dabei baut sie einen Dampfdruck auf, der wiederum den Siedepunkt der Flüssigkeit anhebt. Mit steigender Wärmemenge und der daraus resultierenden Erhitzung steigt der Innendruck des Akkumulators immer weiter an. Irgendwann ist dann der Berstdruck des Akkumulatorgehäuses erreicht und es kommt zu schnellen Expansion des Dampfes, welches im Volksmund auch gerne Explosion genannt wird. Hierbei kann es sogar vorkommen, dass sich die gebildeten Gase (vorwiegend Wasserstoff und Sauerstoff) entzünden und eine Stichflamme verursachen.

Ob das ein Dummie versteht?

Es ist mir schon klar, dass du das als Spaß gemeint hast, aber diese Steilvorlage wollte ich mir nicht nehmen lassen :D

Wennn ich den Kabelquerschnitt schon mit qm² angebe, dann darf ich doch auf Dämpfe kochen lassen. :D

johnny333 am 07 Dez 2011 14:28:53

Aber das gilt doch nur für verschlossene Batterien? Bei meinen Säure-Batterien sollte sich der Druck langsam über die Entlüftung abbauen, bzw. wird überhauptnicht aufgebaut.
Es sei denn ich klotze richtig mit 100A Ladestrom.

Johnny

Gast am 07 Dez 2011 14:36:41

johnny333 hat geschrieben:Aber das gilt doch nur für verschlossene Batterien? Bei meinen Säure-Batterien sollte sich der Druck langsam über die Entlüftung abbauen, bzw. wird überhauptnicht aufgebaut.
Es sei denn ich klotze richtig mit 100A Ladestrom.

Johnny


Ja, jeder Blei-Akku hat eine "Notentlüftung", auch AGM und GEL. Normales Überladen führt zu kleinster Dampfbildung. Einen Total-Kurzschluss aber zerreißt schon so manchen Akku. Die meisten werden aber nur zu Dampfmaschinen --> Link

Gast am 07 Dez 2011 19:10:07

Kapitel 10: Milli, Micro, Kilo, Mega, Giga - die Maßeinheiten

Warnung: Hier schreibt einer, der "qm² statt mm²" und "das Verdampfen von Gasen" schreibt. :D

Der Tag ist eh schon versaut mit lauter Theorie.
Dann machen grad mal so weiter. :-)

Angenommern ihr habt einen Liter Milch. Dann könnt ihr den aufteilen.
Zum Beispiel in 1000 Gläser, wobei dann in jedem Glas nur 1/1000 Liter Milch ist. Dazu könnt Ihr auch MilliLiter oder ml sagen
Oder unterm Mikroskop in Eine Million Gläser, dann ist 1/1000000Liter Milch im Glas. Dazu könnt ihr auch 1MicroLiter oder µl sagen.
Das klingt doch schon besser wie die vielen Nullen. :?

Es geht aber auch umgekehrt.
Ihr kauft 100Liter Milch, dann habt ihr 1 HectoLiter.
Ihr kauft 1000Liter Milch, dann habt ihr 1KiloLiter.
Ihr kauft 1000000Liter Milch, dann habt ihr 1MegaLiter.
Ihr kauft 1000000000Liter Milch, dann habt ihr 1GigaLiter Milch.
Mein Gott, sind das viele Nullen

**************************************
Kind: "Ich hätte gerne 1kg Milch."
Verkäufer:"Milch wiegt man nicht Milch misst man!"
Kind:"Dann geben Sie mir halt einen Meter Milch"
**************************************


Jetzt habe ich absichtlich Milch genommen. Bei anderen Dingen kommt es euch bekannter vor.
Deshalb gleich ein kleiner Test:
Wie viel Liter sind 1HectoLiter Bier?
Wie viel 5ml Fläschchen Liquid muss ich kaufen, damit ich 1 Liter habe.
Wie viel Meter sind 1Kilometer?
Na, das kommt euch jetzt bekannter vor

Und damit man das in der Elektronik nicht immer ausschreiben muss, gibt es Abkürzungen:
1/1000 = Milli = m (kleines m!!!)
1/1000000 = Micro = µ (Tastatur ALT gedrückt halten und 0181 eintippen)
1000= Kilo = k
1000000 = Mega = M (großes M)
1000000000 = Giga = G

Ein Widerstand mit 1200000 Ohm hat also 1,2MOhm oder auch 1200kOhm
Ein Kondensator (was immer das auch ist :1007Smile mit 1000µF hat also 0,001F (F=Farad) oder auch 1/1000F.
Ein Meter hat 1000mm
Wie viel mm hat ein km?
Wie viel µLiter hat ein halber Liter?

Und jetzt wird etwas Denksport:
Wie viel Ah hat ein Akku, der 2600mAh hat?
Wie viel Milliohm hat eine Lampe, der 3,3Ohm hat?
Wie viel mVolt sind 4,2Volt?

Boah, jetzt reicht es aber mal :? Liest überhaupt noch jemand mit? :roll:

Gast am 07 Dez 2011 19:57:07

a.miertsch hat geschrieben:Ist ja größtenteils richtig, was Du da alles über uns ausschüttest. Nur was hat das alles mit einem Wohnmobilforum zu tun?
Warum sprichst Du ständig von "Dummis"? und warum sagst Du nur etwas zu meiner Frage und behandelst den Rest wie die reine Atmosphäre? Bist du etwa ein Schwippschwager vom Älektro-Ulli? Fragen über Fragen.
Albert

1) Es ist ein gewisses Grundlagenwissen erforderlich, bevor wir loslegen können.
2) Ich denke doch, alle Fragen beantwortet zu haben? Wen habe ich links liegen lassen?
3) Das Wort Dummies kommt von der Buchserie "xyz für Dummies". Dort werden alle möglichen Dinge in einfachsten Worten erklärt. Es ist in keinem Maße beleidigend gemeint. Ich will ganz bewusst diejenigen ansprechen, die bisher keine Ahnung von Elektrik hatten, aber mal etwas Wissen aufbauen wollten.

Ich hoffe doch sehr, dass ich niemanden hier "wie Luft" behandelt habe.
Wenn ich jemanden ausgelassen habe, dann soll er/sie sich bitte sofort MELDEN und beschweren!

wer ist Älektro-Ulli? (o.k. ich nehm die Suchfunktion)

Und zuletzt: Wem das hier zu unsinnig erscheint, braucht es ja nicht zu lesen. Wem es sinnig erscheint, ist immer willkommen. es ist ein einziger Thread unter vielen. Ich mülle ja nicht das ganze Forum damit zu.

Gast am 07 Dez 2011 20:28:14

Ich finde deine Beiträge hier in deiner Bastlerecke sehr interessant, raidy!

Es gibt mal eine Auffrischung oder es ist was, über das ich mir schon mal Gedanken gemacht habe, aber dabei blieb es dann auch :D

Bin zwar kein Bastler, aber manchmal musste ich mir doch was einfallen lassen, damit etwas wieder funktioniert.

Kommt auch mal das Thema "Sicherungen xA" in Zusammenhang nachträglich eingebauter Geräte oder hab ich das verpennt :razz:, nö ne?

Bild

Gast am 07 Dez 2011 22:04:50

Kapitel letztes: Wie lange wird meine Batterie aushalten?

Immer wieder stellt man sich die Frage: Wie lange komme ich wohl ohne Laden durch.
Dabei lässt sich dies ziemlich genau abschätzen, wenn man ein paar Grundlagen kennt.
Und diese will ich euch jetzt mal in einfachster Weise zeigen. Dafür sage ich jetzt einfach mal:

Von einer 100Ah Batterie kannst Du nur rund 50Ah nutzen.

Frage nicht warum das so ist, das kommt später mal im Kapitel Batterie wesentlich genauer. Nur so viel: Eine Batterie hat eine obere Ladespannung, die nicht überschritten werden darf. Und sie hat eine untere Entladespannung, die nicht unterschritten werden sollte, weil sie sonst Schaden nehmen kann. Die obere Spannung liegt je nach Batterietyp und Temperatur so bei 13,7 bis ~14,4V, die untere so bei 11,8 bis 12V. Wenn eine 100Ah Batterie bis 12V entladen wird, dann hat sie erst 50% ihrer Leistung abgeben. Die andere Hälfte liegt von 12V bis 0V. Da eben, wo sie Schaden nehmen würde.

So, ab jetzt ist alles andere eine einfache Rechnerei.

Schreibe alle Verbraucher auf, die du verwendest, wie lange sie im Schnitt pro Tag laufen und wie viel Watt sie brauchen. Watt*Stunden werden dann Wh. Das könnte dann so aussehen:

Fernseher..................25W.....................4 Stunden.................=100Wh/Tag
Sat-Receiver.............10W......................4 Stunden..................=40Wh/Tag
4 Halogen je 5W.......20W......................6 Stunden.................=120Wh/Tag
Pumpe......................40W......................0,5 Stunden...............=20Wh/Tag
Truma6....................18W......................1 Stunde.....................=18Wh/Tag
....
...
Panel und sonstiges.....5W......................12h.............................60Wh/Tag
Summe.................................................................................... 358Wh/Tag

Wir können 50% der 100Ah nutzen. die Batterie gibt uns also 50Ah.
Sie kann also 1 Stunde lang 50A geben, oder 10 Stunden 5A, oder 100 Stunden 0,5A. *)

*) Stimmt nicht ganz. Je höher der Entnahmestrom ist, desto schlechter ist der Wirkungsgrad der Batterie - je weniger Ah gibt sie dir wirklich.

Wir wollen die Wattstunden der Batterie jetzt berechnen. aus den vorigen Kapiteln (und deshalb war Theorie notwendig) wissen wir ja, das Watt auch VoltAmpere sind. Somit sind Wattstunden VAh.

Jetzt rechnen wir: 12V * 50Ah = 600VAh = 600Wh. So viele Wattstunden gibt uns die Batterie.
Wir verbrauchen an einem Tag ca, 358Wh.
Somit kann uns die Batterie 600Wh/(358Wh/Tag)= 1,7 Tage genügend Strom liefern.
Also irgendwann am zweiten Tag gegen Abends macht bumm und das Panel schaltet dir den Strom ab, weil die 11,8V unterschritten sind.

Natürlich hätte man auch rechnen können, wie viele Stunden es ginge. Aber das macht keinen Sinn, weil man ja morgens duscht, abends fern sieht. Wie hätte man das in Stunden umrechnen sollen.
So haben wir einen guten Mittelwert für Tage.

Ganz genau ist das trotzdem nicht weil folgende Größen die tatsächliche Leistung der Batterie beeinflussen:
Temperatur der Batterie
Alter der Batterie
Qualität der Batterie (wer billig kauft, kauft zweimal!)
Tatsächlicher Heizbedarf
Vergessene Verbraucher

Aber immerhin, mit der Formel kommt man ziemlich gut hin.

Gast am 28 Dez 2011 03:20:08

Ich habe mich entschieden, doch weiter zu machen. Viele PN's haben mich erreicht. Ich werde die Inhalte nicht nennen, aber ich sage Danke. Ihr habt mir Mut gemacht.

Dies ist ein Thread für meine "Freunde" und alle die was lernen wollen. Für Fories mit Anstand - nur für diese.

1) An alle Pauschalkritiker und Nörgler


In der Zwischenzeit ist mir eine Hornhaut gewachsen. Ihr könnt mich nicht mehr provozieren. Obwohl ihr ganz sicher viel schlauer und bescheidener seid wie ich.
Wenn ihr meint ich schreibe nur, weil ich mich selbst gerne lese, dann meint es halt. Wenn ihr meint ich bin ein Oberlehrer, dann mein halt auch das.
Überhaupt könnt ihr meinen was ihr wollt, ist mir so was von egal. Aber verschont mich bitte davon, es hier zu schreiben. Ich will es gar nicht wissen. Ihr dürft es für euch behalten.
Wenn euch das nicht passt, was ich hier schreibe, dann lest es einfach nicht. Denkt euch was ihr wollt, aber haltet bitte diesen Thread sauber.
Denn Oberlehrer werden nicht gerne unterbrochen. Es gibt so viele schöne andere Threads, bei denen ihr so ab Post 4-10 schon euren Senf abgebt. Bleibt einfach dort.

Zu mir: Ja, ich habe eine eigene Art des Humors. Diese kann auch mal falsch interpretiert werden. Ich hatte und habe nie und zu keiner Zeit vor, jemanden zu beleidigen.
Da ich nur schreibe und keine Gesten hier zeigen kann, solltet ihr mir bitte glauben, dass mir eine humorvolle Textung am Herzen liegt. Sie kann natürlich, wenn man dies so lesen will, auch falsch aufgefasst werden. Das Leben ist zum ärgern viel zu schade!

2) Jeder macht Fehler, ich sogar sehr viele

Objektive Fehler (qmm² statt mm²) sind natürlich immer möglich. In diesem Fall freue ich mich immer darüber, wenn ich darauf hingewiesen werde.
Ein "Du hast einen Fehler gemacht..." ist mir natürlich lieber wie eine "So ein Quatsch....". Wer es aber nur so kann, lese bitte nochmals 1).
Gewollte Fehler:
Manchmal macht es einfach Sinn, die Dinge einfach zu erklären. Dann sind sie wissenschaftlich gesehen nicht richtig, aber ein Anfänger versteht sie besser.
Ich erlaube mir, manche Dinge ganz bewusst falsch zu erklären. Dieses Recht nehme ich mir einfach. Wer damit nicht leben kann, lese bitte nochmals 1).
Allerdings werden diese "Ungenauigkeiten" mit der Zeit korrigiert. Es ist eine Schulungsmethode, die ich schon seit 30 Jahren so anwende und als erfolgreich empfinde.

3) Was hat das jetzt mit WoMos zu tun?
Erst mal nichts, oder nicht direkt. Denn erst wenn ein gewisses Grundwissen vorhanden ist, kann man dies auf WoMo-Technik anwenden. Etwas Geduld muß leider sein.

4) Kommentare
Ja, ich freue mich auf Kommentare. Denn es ist absolut wichtig zu lesen, ob es auch verstanden wurde, oder eben auch nicht. Scheut euch bitte nicht, es zu schreiben, wenn ich "abheben" sollte. Also schreibt ruhig öfters mal wie es bei euch ankommt. Einen Monolog will ich hier nicht führen.

5) Zu meiner Person
Ich möchte etwas anonym bleiben, deshalb kein Bild und keine direkten Angaben zu mir. Ich habe eine Feinmechanik + Elektronikausbildung, den Meister gemacht und dann meine Neigung zu Prozessortechnik und Programmierung entdeckt. Speziell Prototypen-Entwicklung liegt mir gut. Damit habe ich viel Geld gemacht, aber hatte rund 20 Jahre eigentlich keine Freizeit mehr. Vor 2 Jahren habe ich alles verkauft (hier und Übersee) und entwickle noch ab und zu Prototypen für ausgewählte Kunden. Auch meine über 20 jährige Tätigkeit als Prüfmeister habe ich abgegeben. Die freie Zeit nutze ich mit meiner Frau und sehr oft im meinem WoMo. Aber ich kann auch nicht tagelang am Stück faulenzen, und so entwickle ich im WoMo oder schreibe gerne etwas von meinen Halbwissen nieder.

So, das wars mal für heute.
Und nochmals: Nörgler möchten bitte das Weite suchen. Ich brauche euch hier nicht! Darf ich sagen WIR brauchen euch hier nicht?
Als erste Aktion werde ich jetzt nochmals die Kapitel an einem Stück hier reinziehen. Aber erst frage ich beim Mod nach, ob das o.k. ist.
Übrigens: Dieser Text hat im BlaBlaMeter --> Link einen Index von nur 0,07 (Ihr Text zeigt keine oder nur sehr geringe Hinweise auf 'Bullshit'-Deutsch.)! :D

Sahli am 28 Dez 2011 08:37:34

raidy!
schlicht und einfach DANKE!

Gast am 28 Dez 2011 08:50:46

hallo raidy,
dein Einleitungstext sollte nun genügen, damit wir sachlich diskutieren können, danke schon allein dafür.
Bin gespannt.

km99 am 28 Dez 2011 08:54:33

raidy hat geschrieben:Ich habe mich entschieden, doch weiter zu machen...
:zustimm:
Mal sehen, wie lange sich die Nörgler und Besserwisser zurückhalten können. ;)


Klaus

jhg0812 am 28 Dez 2011 08:55:27

Hallo Raidy,
danke, endlich mal eine gute Nachricht.
Ein gutes Jahr 2012
Jörg-Holger

klausevert am 28 Dez 2011 09:04:06

topp

freue mich schon

farmerj am 28 Dez 2011 09:04:43

Ich hab zwar von Technik ungefähr nur 2qmm Ahnung, aber ich finds super, dass du weiter machst..........vlt. kann ja sogar ich nochwas lernen ;-)......

Freu mich schon auf die Tipps und kleinen Anregungen

jukeles am 28 Dez 2011 09:29:23

Klasse, dass Du eine Fortsetzung machst.
Wie wäre es, diese Berichte, wie ein Reisebericht, für Anmerkungen zu schliessen. Dann sind sie vollständig hintereinander und man muss ein bestimmtes Thema eventuell nicht ellenlang suchen, wo war das doch gleich?.
Im Gegenzug dann die Raidy Fragenecke zu .............

Nur mal ein Vorschlag.

LG jutta

rolf51 am 28 Dez 2011 10:20:03

Hallo Raidy,

klasse, dass Du dich anders entschieden hast und nicht den Nörglern den Sieg gelassen hast.

ottomar am 28 Dez 2011 10:28:48

Hallo

das ist mal eine gute Nachricht! Freu mich schon auf neue Einsichten in mir fremde Welten.

Ein gutes, gesundes 2012!!!

Mit freundlichen n,
Ottomar

Anzeige

  • Die neuesten 10 Themen
  •  
  • Die neuesten 10 Reiseberichte
  • Die neuesten 10 Stellplätze

Fototapete - Poster im Aufbau als Deko
Linkliste vieler WoMos in youtube
Alle Rechte vorbehalten ©2003 - 2026 AGB - Datenschutzerklaerung - Kontakt